How should carbon electrodes, graphite electrodes and self-baking electrodes be used correctly in the submerged arc furnace industry?

Type, performance and use of the electrode

 

Electrode type

 

Carbonaceous electrodes can be classified into carbon electrodes, graphite electrodes and self-baking electrodes according to their uses and manufacturing processes.

 

The carbon electrode is made of low-ash anthracite, metallurgical coke, pitch coke and petroleum coke. It is composed of a certain proportion and particle size. When adding, the binder asphalt and tar are mixed, and the mixture is evenly stirred at an appropriate temperature. Forming, and finally slowly calcining in a roaster. Can be divided into natural graphite electrodes, artificial graphite electrodes, carbon electrodes and special carbon electrodes.

 

The graphite electrode (graphiteelectrode) is made of petroleum coke and pitch coke as a raw material, and then placed in a graphitized electric resistance furnace with a temperature of 2273~2773K, and is made into a graphite electrode by graphitization. The graphite electrode is further divided into the following Kind.

 

The ordinary power graphite electrode allows the use of graphite electrodes with a current density of less than 17 A/cm2, and is mainly used for ordinary power electric furnaces such as steel making, silicon refining, and yellowing phosphorus.

 

The surface of the anti-oxidation coated graphite electrode is coated with a protective layer (graphite electrode antioxidant) which is conductive and resistant to high temperature oxidation, which reduces the electrode consumption during steelmaking (19%~50%) and prolongs the service life of the electrode (22%~ 60%), reducing the power consumption of the electrode.

 

The high-power graphite electrode allows the use of graphite electrodes with a current density of 18 to 25 A/cm2, which is mainly used in high-power electric arc furnaces for steelmaking.

 

Ultra high power graphite electrodes allow the use of graphite electrodes with current densities greater than 25 A/cm2. Mainly used in ultra-high power steelmaking electric arc furnaces.

 

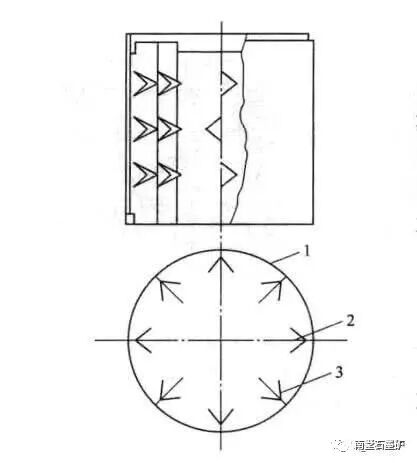
Self-baking electrode (selfbakingelectrode) using anthracite, coke, and bitumen and tar as raw materials, making an electrode paste at a certain temperature, and then loading the electrode paste into an electrode case that has been mounted on an electric furnace (as shown in FIG. 1), In the electric furnace production process, the Joule heat generated by the passage of electric current and the conduction heat in the furnace are self-sintered and coked. Such an electrode can be used continuously, and can be formed by joining the long side edge and can be fired into a large diameter. The self-baking electrode is widely used for ferroalloy production because of its simple process and low cost.

 

 

Figure 1 Schematic diagram of the electrode shell

 

1-electrode shell; 2-rib piece; 3-triangle tongue

 

Main technical performance of the electrode

 

The electrode material should have the following physicochemical properties:

 

The conductivity is better, the resistivity is smaller, to reduce the loss of electric energy, reduce the voltage drop of the short net, and increase the effective voltage to increase the power of the molten pool;

 

The melting point is high;

 

The coefficient of thermal expansion is small, when the temperature changes rapidly, it is not easy to be deformed, and the internal stress caused by the temperature change cannot generate fine cracks to increase the resistance;

 

Have sufficient mechanical strength at high temperatures;

 

Impurities are low and impurities do not contaminate the smelt.

 

The main technical properties of the carbon electrode, the graphite electrode and the self-baking electrode are shown in Table 1 and Figures 2 and 3.

 

 

 

Table 1 Electrode technical performance

 

 

Fig. 2 The change of resistivity of carbon electrode and graphite electrode with temperature

 

 

Figure 3 Thermal conductivity of carbon and graphite electrodes as a function of temperature

 

Selection of electrodes in ferroalloy industry

 

Self-baking electrodes are widely used in iron alloy smelting, refining ferrosilicon, silicon chromium alloy, manganese silicon alloy, high carbon ferromanganese, high carbon ferrochrome, medium and low carbon ferromanganese, medium and low carbon ferrochrome, silicon calcium alloy, tungsten iron Wait. Self-baking electrodes tend to increase the production of alloys, iron belts into carbon, and produce iron alloys and pure metals with very low carbon content. If carbon ferrochrome, industrial silicon and manganese metal, carbon or graphite electrodes should be used.

电极的种类、性能及其用途

电极种类

碳质电极按其用途及制作工艺不同可分为碳素电极、石墨电极和自焙电极三种。

碳素电极(carbonelectrode)是以低灰分的无烟煤、冶金焦、沥青焦和石油焦为原料,按一定的比例和粒度组成.混合时加入黏结剂沥青和焦油,在适当的温度下搅拌均匀后压制成形,最后在焙烧炉中缓慢焙烧制得。可分为天然石墨电极、人造石墨电极、碳电极以及特种碳素电极四类。

石墨电极(graphiteelectrode)以石油焦和沥青焦为原料制成碳素电极,再放到温度为2273〜2773K的石墨化电阻炉中,经石墨化而制成石墨电极„石墨电极又分为以下几种。

普通功率石墨电极允许使用电流密度低于17A/cm2的石墨电极,主要用于炼钢、炼硅、炼黄磷等的普通功率电炉。

抗氧化涂层石墨电极表面涂覆既能导电又耐高温氧化的保护层(石墨电极抗氧化剂),降低炼钢时的电极消耗(19%〜50%),延长电极的使用寿命(22%〜60%),降低电极的电能消耗。

高功率石墨电极允许使用电流密度为18〜25A/cm2的石墨电极,主要用于炼钢的高功率电弧炉。

超高功率石墨电极允许使用电流密度大于25A/cm2的石墨电极。主要用于超高功率炼钢电弧炉。

自焙电极(selfbakingelectrode)用无烟煤、焦炭以及沥青和焦油为原料,在一定温度下制成电极糊,然后把电极糊装入已安装在电炉上的电极壳中(如图1所示),在电炉生产过程中依靠电流通过时所产生的焦耳热和炉内传导热,自行烧结焦化。这种电极可连续使用,边使用边接长边给结成形,且可焙烧成大直径的。自焙电极不仅工艺简单,成本也低,因此被广泛用于铁合金生产。

图1  电极壳示意图

1-电极壳;2-筋片;3-三角形舌片

电极的主要技术性能

电极材料应具有下列物理化学特性:

导电性要好,电阻率要小,以减少电能的损失,减少短网压降,提高有效电压,以提高熔池功率;

熔点要高;

热膨胀系数要小,当温度急变时,不易变形,不能因温度变化带来的内应力产生细小的裂缝增加电阻;

高温下要有足够的机械强度;

杂质要低,而且杂质不污染所冶炼的品种。

碳素电极、石墨电极和自焙电极的主要技术性能如表1和图2、图3所示。

表1  电极技术性能

图2  碳素电极和石墨电极电阻率随温度的变化情况

图3   碳素电极和石墨电极热导率随温度的变化情况

铁合金工业中电极的选用

自焙电极广泛用于铁合金冶炼,炼制硅铁、硅铬合金、锰硅合金、高碳锰铁、高碳铬铁、中低碳锰铁、中低碳铬铁、硅钙合金、钨铁等。自焙电极易使生产合金增碳,铁皮带入碳,生产含碳很低的铁合金和纯金属,如果碳铬铁、工业硅和金属锰应采用碳素电极或石墨电极。


Post time: Nov-18-2019
WhatsApp Online Chat !